Калитка электромеханическая К32М | Антикражка.ру - профессионалы по защите товаров от краж
Антикражка.ру - противокражные системы, антивор для магазинов,защита от краж     
+7 (903) 552-95-64
 
 anti.krazhka@yandex.ru
заказать звонок
   
    антикражка за 3 минуты
     
    Корзина для покупок
    Моя корзина
    Товаров в корзине: 0
    Оформить заказ!
     






















    src="../../../../../web.redhelper.ru/service/maine1a7.js?c=antikrajka">
    Артикул: 4422034 версия для печатиРаспечатать

    Калитка электромеханическая К32М



    Тип турникета: калитка
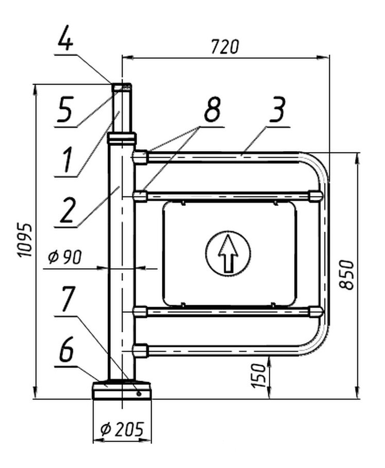
    Ширина перекрываемого прохода: 825 мм
    Высота прохода: 1095мм
    Пропускаемая способность: 600/1800 ч/.час
    Диапазон рабочих температур, C: от +1 C до +40 С
    Гарантия: 1 год
     
    кол-во цена с НДС
    1+ 57'567,60
    6+ 56'288,32
    10+ 54'369,40
    Количество  
    Сумма   
     
    ДОБАВИТЬ В КОРЗИНУ
     

    Вы можете заказать доставку для "Калитка электромеханическая К32М" в любой город России (и в некоторые другие страны) Подробнее о доставке


    Назначение

    Калитка К32М предназначена для использования на объектах, имеющих повышенные требования к пропускному режиму: аэропортах, таможне, пограничных КПП.

     

     

    Подробное описание

    Эта модель отличается от К32 более высокой створкой, исключающей пролезание снизу. Калитка выполнена в едином дизайне с турникетами и ограждениями , может управляться от дистанционного пульта или с помощью СКУД.

     

    Схема:

    Схема


    Двусторонняя - открытие и по, и против часовой стрелки.

    Калитки К32М

    Калитки К32М в аэропорту Шереметьево

    К32М

    Крупный план

     

    Технические характеристики

    Напряжение питания калитки 12±0,6B постоянного тока
    Потребляемый ток, не более,
    Стыковка со СКУД Любые типы СКУД
    Габаритные размеры калитки (ширина×длина× высота):
    без дуги
    с дугой

    205×205×1095 мм
    825×205×1095 мм
    Ширина перекрываемого прохода 825мм
    Допустимые статические усилия на середине преграждающей дуги, не более 60кгс
    Рабочий температурный диапазон от +1 °C до +40 °C
    Срок эксплуатации, не менее 8лет

    Комплект поставки

    • стойка калитки 1 шт.
    • блок электронного управления БЭУ 1 шт.
    • пульт дистанционного управления ПДУ 1 шт.
    • дуга с пластиковой вставкой белого цвета 1 шт.
    • Паспорт. Руководство по эксплуатации 1 шт.
    По отдельному заказу:
    1. Изготовителем по дополнительному заказу может поставляться блок питания с необходимыми для эксплуатации калитки параметрами.
    2. Калитка может быть поставлена со встроенной системой контроля и управления доступом СКУД.
    3. Стойка калитки может быть изготовлена как из стали, окрашенной порошковым методом в любой цвет по RAL (стандартный цвет – «серебряный антик»), так и из нержавеющей стали, преграждающие дуги - из хромированной или нержавеющей стали.
    4. Может быть уличного исполнения под навесом для температурного диапазона от -20ºС до +40ºС.
    5. Комплект радиоуправления калитки (взамен проводного ПДУ).
    6. Преграждающие дуги нестандартной длины.
    7. Вставки для дуг могут быть изготовлены из любого материала - закаленного стекла, цветного пластика, нержавеющей стали и др.
    8. Адаптер для стыковки калитки с любыми типами СКУД.
    9. Разрезные кольца для стыковки ограждений непосредственно со стойкой калитки.

     


    ЗАКАЗАТЬ КОНСУЛЬТАЦИЮ
       
    ДОБАВИТЬ В КОРЗИНУ


    АНТИКРАЖКА.ру - это:

    
Антикражные системы предназначены для предотвращения выноса неоплаченного товара посетителями магазина. На выходе из магазина (или, например, библиотеки) устанавливаются антикражные ворота. Товар защищается с помощью этикеток или бирок.
    Противокражные системы
    
Завершить систему безопасности магазина, оборудованного противокражными системами и системой видеонаблюдения, позволяют обзорные сферические зеркала. Устанавливаются в местах с ограниченным обзором: кассовых проходах, торговых залах, складах и др. и упрощают наблюдение труднообозримого пространства.
    Обзорные зеркала
    
Счетчики посетителей устанавливаются на входе или выходе из помещения и применяются для подсчета числа посетителей в бутиках, магазинах, выставочных центрах.

Счетчики числа посетителей предназначены для анализа успешности продаж или маркетинговых мероприятий и позволяют собирать информацию о количестве вошедших и вышедших покупателей за определенный промежуток времени.
    Счётчики посетителей магазина
    
Системы защиты товара на витринах в открытой выкладке - самый эффективный способ защиты мелких дорогих товаров от краж.

Системы позволяют ставить на охрану любой товар, независимо от габаритов, формы и материала.

Системы защиты товара на полках просты в установке и не требуют соблюдения особых технических условий.

Особенно эффективны для защиты товаров бытовой техники и электроники, сотовых телефонов, видеокамер, ноутбуков и других подобных дорогих товаров
    Системы защиты товара на стеллажах
    
Защитный сейфер, или бокс - это прозрачная коробка, изготовленная из прозрачного пластика, снабженная специальным замком. Внутри коробки находится противокражная этикетка или датчик. В коробку закрывается товар, после чего коробка ставится на полку. Покупатели могут повертеть товар в боксе в руках, но не смогут его унести с собой - сработает противокражная система на выходе. С помощью сейферов защищают картриджи, бритвенные станки, продукты, парфюмерию, косметику, медицинские товары, mp3 плееры, CD, DVD диски, компьютерные приставки, iPod и т.д. New: Подбор сейфера по размеру!
    Защитные боксы (сейферы)
    
Система видеонаблюдения - важный элемент системы безопасности магазина. Видеоизображение с видеокамер с помощью видеорегистраторов или видеосерверов записывается и выводится на видеомонитор. Даже если нет специально выделенного человека для постоянного наблюдения в реальном времени, просмотр записанной ситуации позволит решить спорную ситуацию или определить причину недостачи.
    Системы видеонаблюдения
    
Ограждения для магазинов позволяют формировать проходы в торговых точках и регулировать движение покупателей.

Калитки для магазинов устанавливаются обычно в зонах входа/выхода в магазинах и супермаркетах.
    Ограждения в магазин. Калитки. Турникеты.
     

    доставкаДоставляем антикражные системы и расходные материалы, зеркала дорожные и для помещений, сейферы и другие товары
    по Москве, России и Таможенному союзу!


    ЗАКАЗЫВАЙТЕ ЗВОНОК, звоните +7 (903) 552-95-64, пишите anti.krazhka@yandex.ru

     

    СПЕЦПРЕДЛОЖЕНИЯ

    РЕКЛАМНЫЕ ПАНЕЛИ

    Крышки (чехлы) для антикражных ворот Рады предложить рекламные чехлы (панели) для антикражных ворот. На них можно расположить логотип, информацию о скидках.
    Недорого. Например, чехол с прикаткой на гофрокартон, отпечатанного на бумаге с разрешением 720 dpi и глянцевой ламинацией плаката 1600x110x630mm, стоит около 1900руб. подробнее


    НОВИНКИ

    Деактиватор этикеток радиочастотный Пролайт (ProLight), бесконтактный (при оплате без НДС)Деактиватор этикеток радиочастотный Пролайт (ProLight), бесконтактный (при оплате без НДС)

    Деактиватор Пролайт предназначен для бесконта...>

     
    Фиксатор товаров на крючках Стоп Лок Черный (STOPLOK), 6 ммФиксатор товаров на крючках Стоп Лок Черный (STOPLOK), 6 мм

    Замок Stop Lock Чёрный - хороший вариант для ...>

     
    Фиксатор товаров на крючках Стоп Лок Черный (STOPLOK), 4 ммФиксатор товаров на крючках Стоп Лок Черный (STOPLOK), 4 мм

    Замок Stop Lock Чёрный - хороший вариант для ...>

     


    МЫ ПРЕДЛАГАЕМ

    Счетчик посетителей SM Counter белыйСчетчик посетителей SM Counter белый
     
    Магазин повседневной одеждыМагазин повседневной одежды
     
    Сейфер FORTKNOX MINI OC 3 DLSСейфер FORTKNOX MINI OC 3 DLS
     


    А ЗНАЕТЕ ЛИ ВЫ, ЧТО

    По отраслевой статистике, для самых ответственных объектов выбирают именно компьютерные видеорегистраторы.


     
    © 2006-2019 АНТИКРАЖКА.РУ - Защита товара, противокражные зеркала безопасности, антикражные ворота для бизнеса. Все права охраняются законом.  Политика конфиденциальности
     
    Консультант по выбору антикражной системы