|
|
Калитка электромеханическая К32 универсальная
|
|
| Тип турникета: | калитка | | Ширина перекрываемого прохода: | 825 мм | | Высота прохода: | 1095мм | | Пропускаемая способность: | 600/1800 ч/час | | Диапазон рабочих температур, C: | от +1 C до +40 С | | Гарантия: | 1 год | | |
| кол-во |
цена с НДС |
| 1+ |
49'003,56 |
| 6+ |
47'422,80 |
| 10+ |
46'368,96 |
| | | | ДОБАВИТЬ В КОРЗИНУ |
|
| |
|
|
Вы можете заказать доставку для "Калитка электромеханическая К32 универсальная" в любой город России (и в некоторые другие страны) Подробнее о доставке
|
|
 Подробное описаниеКалитка работает по следующему принципу: в исходном положении створка перекрывает проход и находится в заблокированном положении. При поступлении сигнала с пульта управления или от СКУД (Система Контроля и Управления Доступом) калитка разблокируется. Проходящий через нее человек открывает створку рукой. Створка сама возвращается в исходное положение и блокируется, либо остается открытой в зависимости от режима работы. Если сигнал на открытие был подан, но никто через калитку не прошел, то она блокируется через 3-4 секунды. Калитка открывается на 90 градусов в две стороны.
Отличительные особенности электромеханических калиток:
* калитки имеют встроенное гидродомеханическое устройство возврата дуги в исходное положение, обеспечивающее плавный и бесшумный возврат дуги в исходное положение после прохода. * электрическое дистанционное управление от пульта дистанционного управления (ПДУ) или системы контроля и управления доступом (СКУД); нормальное состояние калитки – «закрыто»; после получения разрешения на проход необходимо толкнуть преграждающую дугу, после чего механизм плавно вернет ее в исходное положение. * оснащены блоком электронного управления, обеспечивающим регулируемую выдержку времени на проход через калитку с принудительным досрочным сбросом по факту прохода и позволяющим состыковывать калитку с любой системой контроля и управления доступом (СКУД) например с помощью пластиковых карточек, с возможностью организации "учета рабочего времени" сотрудников и т.д. * имеется световая индикация состояния калитки (открыта - закрыта). * предусмотрен режим экстренного пропускания через калитку в случаях пожара, сигнала тревоги, проноса крупногабаритных грузов и т.п. * имеются режимы пропуска как по одному человеку, так и группы людей * варианты покрытия: стандартное покрытие - «серебряный антик», по заказу - «медный антик» или «бронзовый антик» (по цене стандартного покрытия); покрытия типа «Престиж» - полностью хромированная калитка, «алюминиевый металлик», а также любой другой цвет по, дуга – хромированная * по спецзаказу на пластиковую вставку дуги могут быть нанесены другие надписи.
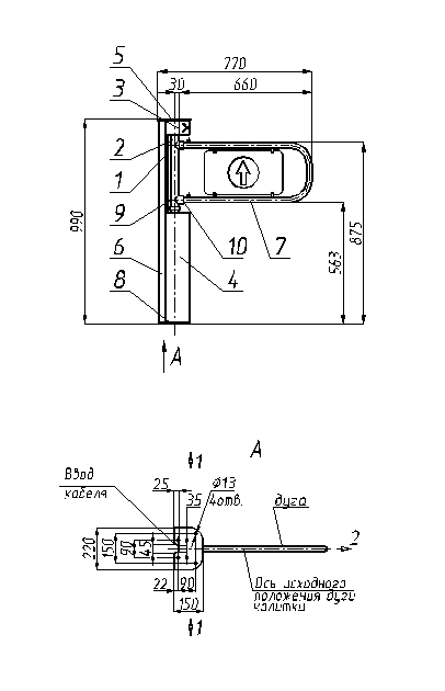
Схема:


Установленная калитка К32
|
 Технические характеристики
| Напряжение питания калитки |
12±0,6B постоянного тока |
| Потребляемый ток, не более, |
2А |
| Стыковка со СКУД |
Любые типы СКУД |
Габаритные размеры калитки (ширина×длина× высота):
без дуги
с дугой |
205×205×1095 мм
825×205×1095 мм |
| Ширина перекрываемого прохода |
825мм |
| Допустимые статические усилия на середине преграждающей дуги, не более |
60кгс |
| Рабочий температурный диапазон |
от +1 °C до +40 °C |
| Срок эксплуатации, не менее |
8лет |
|
|
 Комплект поставки
- стойка калитки 1 шт.
- блок электронного управления БЭУ 1 шт.
- пульт дистанционного управления ПДУ 1 шт.
- дуга с пластиковой вставкой белого цвета 1 шт.
- Паспорт. Руководство по эксплуатации 1 шт.
По отдельному заказу:
- Изготовителем по дополнительному заказу может поставляться блок питания с необходимыми для эксплуатации калитки параметрами.
- Калитка может быть поставлена со встроенной системой контроля и управления доступом СКУД.
- Стойка калитки может быть изготовлена как из стали, окрашенной порошковым методом в любой цвет по RAL (стандартный цвет – «серебряный антик»), так и из нержавеющей стали, преграждающие дуги - из хромированной или нержавеющей стали.
- Может быть уличного исполнения под навесом для температурного диапазона от -20ºС до +40ºС.
- Комплект радиоуправления калитки (взамен проводного ПДУ).
- Преграждающие дуги нестандартной длины.
- Вставки для дуг могут быть изготовлены из любого материала - закаленного стекла, цветного пластика, нержавеющей стали и др.
- Адаптер для стыковки калитки с любыми типами СКУД.
- Разрезные кольца для стыковки ограждений непосредственно со стойкой калитки.
|
ЗАКАЗАТЬ КОНСУЛЬТАЦИЮ ДОБАВИТЬ В КОРЗИНУ
|  АНТИКРАЖКА.ру - это: | | | |
Доставляем антикражные системы и расходные материалы, зеркала дорожные и для помещений, сейферы и другие товары по Москве, России и Таможенному союзу!
ЗАКАЗЫВАЙТЕ ЗВОНОК, звоните +7 (903) 552-95-64, пишите anti.krazhka@yandex.ru
|
|
СПЕЦПРЕДЛОЖЕНИЯ
РЕКЛАМНЫЕ ПАНЕЛИ
Рады предложить рекламные чехлы (панели) для антикражных ворот. На них можно расположить логотип, информацию о скидках.
Недорого. Например, чехол с прикаткой на гофрокартон, отпечатанного на бумаге с разрешением 720 dpi и глянцевой ламинацией плаката 1600x110x630mm, стоит около 1900руб. подробнее
НОВИНКИ
МЫ ПРЕДЛАГАЕМ
А ЗНАЕТЕ ЛИ ВЫ, ЧТО По оценкам Global Retail Theft Barometer, в магазинах розничной торговли среди компаний, принимавших участие в исследованиях, в 2007 году задержано почти 6 миллионов воров!!
|
|